Welcome

Our Patent No. 6,077,019, along with sketches and several of our thousand-word descriptive essays got us exactly nowhere in our two-year search for a technician who could provide “animation” — a “movie”, so to speak — in order for this patented system to be visualized and understood.

“A picture is worth a thousand words …” and never was a picture so badly needed. But what has all this got to do with the Battery Ballasting System we’re about to deal with? There must be a connection, right? Right. Talk about luck. His name is Nick Zuev, and we had the good fortune to run into Nick when he was visiting some business associates here in the U.S. Nick, by the way, lives and works in Russia.

As soon as Nick took a look at our drawings, along with our hastily assembled and jumbled “essays”, he simply nodded, and in less than two weeks he was able to do what a few dozen others were unable to do in two years. Nick is the one who gave us that “picture” we so badly needed — that spectacular container ship “animation” (seen above) that has been an attraction on our website for almost twenty years, and still serves as the “picture that’s worth a thousand words”.

That picture continues to be the main attraction and the “picture” that lends clarity to our effort to meld US Patent Numbers 11,572,140; 10,435,129; 6,077,019; and 5,860,773 into what could well become Standard Operating Procedure (SOP) for all watercraft. 

A most important event occurred on February 7, 2023. That was the day we were issued US Patent No. 11,572,140 by the US Patent Office. Because the abstract, narrative, and drawings published in the U.S. Patent announcement are readily available on the Patent Office website there’s no need to reproduce them here. We’ll be referring to them as we go along, of course, but it would be most appropriate at this point if we provide a reprint of the treaty adopted by the International Maritime Organization (IMO). 

International Maritime Organization

The Ballast Water Management Convention

“The International Convention for the Control and Management of Ship’s Ballast Water and Sediments, 2004 (BWM Convention) is the treaty adopted by the International Maritime Organization (IMO) in order to help prevent the spread of potentially harmful aquatic organisms and pathogens in ships’ ballast water.

“The IMO is the United Nations specialized agency with responsibility for developing global standards for ship safety and security and for the protection of the maritime environment and the atmosphere from any harmful impacts of shipping. 

“From September 8, 2017, ships must manage their ballast water so that aquatic organisms and pathogens are removed or rendered harmless before the ballast water is discharged into a new location. This will help prevent the spread of invasive species as well as potentially harmful pathogens. 

Frequently Asked Questions

The Convention applies to ships registered under contracting Parties to the BWM Convention, which take up and use ballast water during international voyages.

Relevant certificates may not have been issued to such ships. However, port States which are Parties will expect the ships to comply with the requirements of the Convention, so as to ensure no more favorable treatment is given to such ships.

From the date of entry into force (September 8, 2017), ships in international traffic are required to manage their ballast water and sediments to a certain standard, according to a ship-specific ballast water management plan. Ships have to carry:

a. A ballast water management plan – specific to each ship. This management plan must include a detailed description of the actions to be taken to implement the ballast water management requirements and supplemental ballast water management practices.

b. A ballast water record book – to record when ballast water is taken on board; circulated or treated for ballast water management purposes; and discharged into the sea. It should also record when ballast water is discharged to a reception facility and accidental or other exceptional discharges of ballast water.

c. For ships of 400 gt and above, an International Ballast Water Management Certificate, issued by or on behalf of the Administration (Flag State), certifying that the ship carries out ballast water management in accordance with the BWM Convention, and specifying which standard the ship is complying with, as well as the expiration date of the certificate.

There are two ballast water management standards:

a. The D-1 standard requires ships to exchange their ballast water in open seas, away from coastal areas. Ideally, this means at least 200 nautical miles from land and in water at least 200 meters deep. By doing this, fewer organisms will survive and ships will be less likely to introduce potentially harmful species when they release the ballast water.

b. The D-2 standard specifies the maximum amount of viable organisms allowed to be discharged, including specified indicator microbes harmful to human health. Beginning September 8, 2017, all ships were required to conform to at least the D-1 standard. Thereafter, all new ships are required to conform to the D-2 standard.

Our US Patent No. 11,572,140 provides a description of our low cost ballast water management system that will enable ships to conform to existing, and to any future, BWM Convention standards. Newly built ships must meet the D-2 standard today, while existing ships must initially meet the D-1 standard. An implementation timetable for the D-2 standard has been agreed upon based on the date of the ship’s International Oil Pollution Prevention Certification (IOPPC) renewal survey, which must be undertaken at least every five years.

It must be noted that, eventually, all ships will be required to conform to the D-2 standard, and for most ships this will involve installing special equipment to treat the ballast water. Our US Patent No. 11,572,140, describes our ballast water management system that will make it possible for ships to conform to existing, and to any future, Ballast Water Management Convention standards.

The only sure way of guaranteeing a continuing operation is to make use of our above-referenced patented systems. The introductory Abstract on the face page of our Patent No. 11,572,140 is a concise evaluation, thoughtfully arranged for us by the Examiner/Engineers at the U.S. Patent Office. This Abstract follows, and is brief, clear and authoritative.

Abstract

A watercraft comprising a battery ballast system is shown and described. The battery ballast system comprises a plurality of carriage assemblies, each comprising a plurality of tiers along the watercraft’s height axis, and each being movable along the watercraft’s length axis. The batteries sit on movable supports that are movable along the watercraft’s width axis. Each tier is loaded to less than 50 percent with batteries and battery supports so that the batteries in each tier can be moved along the ship’s width axis relative to the hull in a manner that will affect the ship’s list. The carriage assemblies occupy a portion of the length along which they are movable so that they can be moved along the ship’s length axis relative to the hull to affect the ship’s trim. In certain examples, the ship’s potable water system is used to change the watercraft’s total amount of ballast by changing the total volume of treated water on board such as by expelling treated water overboard or changing the rate of untreated water being fed to the potable water system.

19 claims, 9 drawing sheets
FIG. 3A, FIG. 3B (as seen in US Patent No. 1 1,572,140), are illustrations of our battery ballast system. This system is the only guarantee of uninterrupted operation because this system does not utilize ballasting water. 

Fig. 3a

Please note that FIG. 3A as well as FIG. 3B are simulated representations. Each battery (and seat) is approximately 18 inches high by 12 inches in length and 12 inches in width. The eight tiers within each carriage are approximately 12 feet in height.

Fig. 3b

FIG. 3B is an overhead view which shows that each carriage can be individually moved or moved in groups when coupled with other carriages.

Of the more than 83,000 ocean going vessels Lloyds monitors daily, many have yet to conform fully to the IMO regulations in order to continue operating. A crisis of this magnitude means that hundreds of shipyards will he required to retrofit existing vessels or build new ones, with scrap yards being the only alternative for many shipowners. Again, according to Lloyds, over 90% of the world’s useful and consumable products are transported by cargo vessels, and until now no one has been able to come up with a sure-fire way to enable these thousands of vessels to continue operating, and to avert worldwide chaos.

In efforts to comply with IMO regulations, some existing desalinating systems have proven to be ineffective because the amount of space required for the installation of these sizeable units reduces a vessel’s cargo to unacceptable levels and, in many cases, renders the ship unprofitable, and therefore useless.

The following-referenced patented systems describe an alternative that:

  1. Reduces the size of the engine room by more than 95%.
    — uses no fossil fuels or tanks,
    — provides unlimited amounts of potable water,
    — and increases the amount of a vessel’s cargo capacity.
    (Cf. US Patent No. 10,435,129).
  2. Provides for automatic ballasting as well as electricity for all shipboard uses, and eliminates ballasting tanks.
    (Cf. US Patent No. 11,572,140).
  3. Utilizes a system of racked and movable ballasting batteries.(Cf. US Patent Nos. 5,860,783, 6,077,019 and 11,572,140).

The above patented systems allow vessels to operate uninterruptedly for unlimited amounts of time and over unlimited distances, while generating undreamed of profits for builders, owners and operators of such vessels.

Earlier, we referred to the issuance of US Patent No. 11,572,140 as “a most important event”, so let’s begin by justifying that statement. Until September 8, 2017, merchant shipping had been pretty much on its own, and there were little, if any, outside influences to be concerned with. The UN (IMO) mandate, however, introduced a new and enforceable rule book, and from that day forward it was “conform or else”. And though there are a number of ways to “conform” to the mandate, shipboard ballast water management systems must be approved by national authorities, according to a process developed by IMO. Ballast water management systems have to be tested in a land-based facility and on board ships to prove that they meet the performance standard set out in the Treaty. In accordance with Coast Guard regulations, the testing must be performed at independent laboratories that meet Coast Guard requirements.

On December 6, 2017, however, Dr. Mario Tamburri, a respected biologist and marine scientist, withdrew the University of Maryland Center for Environmental Science (UMCES) from the program, citing the need to maintain scientific integrity. The Center’s concern was that the BWMS certification testing was not scientifically sound, productive, consistent and transparent. While there are written regulations and formal protocols that govern the testing, questions have arisen regarding various specific testing procedures.

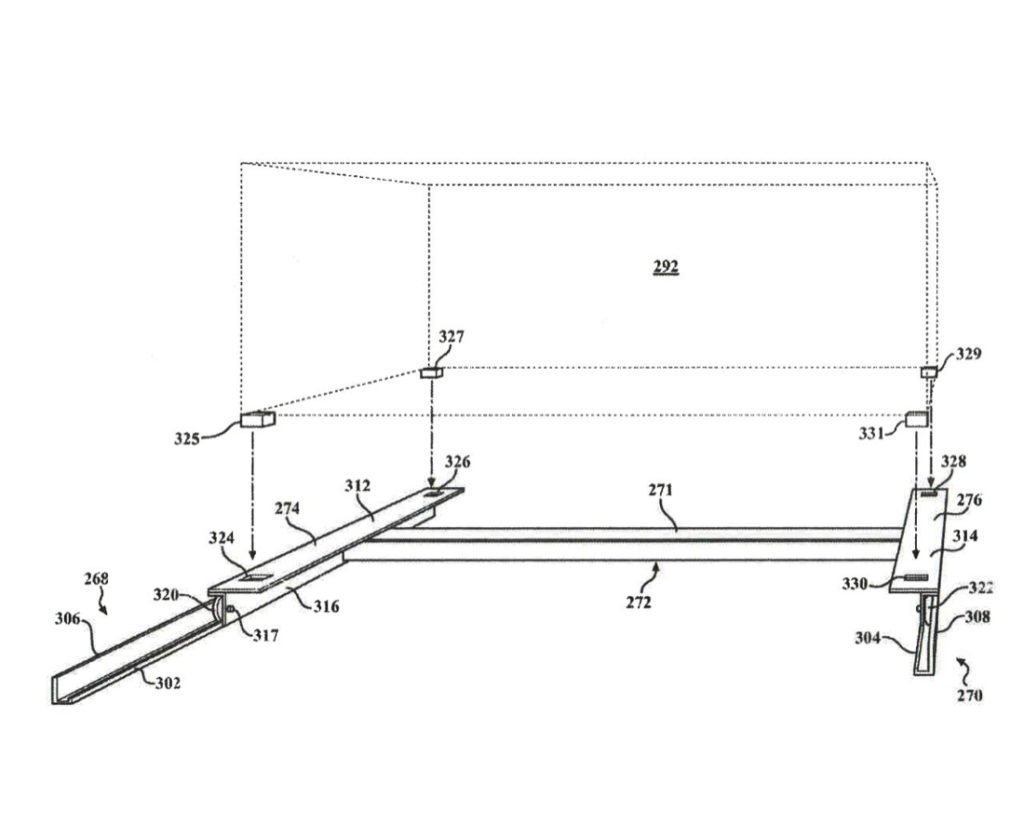
Our repeated references to “carriage assemblies” and movable storage racks redirects us now to US Patent Nos.5,860,783 and 6,077,019, which describe a Cargo Container Storage and Retrieval System and, thankfully, led us to Nick Zuev. The following Abstracts tell all.

Abstract (5,860,783)

“A cargo container storage and retrieval system and method.
One embodiment of a system according to the present invention includes a vessel having cargo hold with a plurality of bulkheads disposed along a width of the cargo hold to define a plurality of adjacent cells along a length of the cargo hold. The cargo hold is also equipped with a plurality of tiers along a depth of the cargo hold. The vessel also includes a deck having a plurality of hatch openings that are used to gain access to the cargo hold. In addition, the vessel includes a storage and retrieval system having a plurality of sets of parallel spaced tracks and a plurality of chassis seats disposed within each set of parallel space tracks. Each track of each set of parallel spaced tracks is mounted to a surface of a bulkhead of opposing bulkheads so that one set of parallel space tracks is disposed within each cell along the length of the cargo hold and so that a plurality of sets of parallel spaced tracks are disposed within each tier of the cargo. Each chassis seat has corresponding wheels that move along a corresponding set of parallel spaced tracks to provide a plurality of chassis seats along the width of the cargo hold for each set of parallel spaced tracks within each tier. Each chassis seat is equipped to hold a standardized cargo container.’

7 Claims, 7 Drawing Sheets

Abstract (6,077,019)

«The invention relates to a cargo container storage and retrieval system.
One embodiment of a system according to the present invention includes a vessel having cargo hold with a plurality of bulkheads disposed along a width of the cargo hold to define a plurality of adjacent cells along a length of the cargo hold. The cargo hold is also equipped with a plurality of tiers along a depth of the cargo hold. The vessel also includes a deck having a plurality of hatch openings that are used to gain access to the cargo hold.

In addition, the vessel also includes a storage and retrieval system having a plurality of sets of parallel spaced tracks and a plurality of chassis seats disposed within each set of parallel spaced tracks. Each track of each set of parallel spaced tracks is mounted to a surface of a bulkhead of opposing bulkheads so that one set of parallel spaced tracks is disposed within each cell along the length of the cargo hold and so that a plurality of sets of parallel spaced tracks are disposed within each tier of the cargo. Each chassis seat has corresponding wheels that move along a corresponding set of parallel spaced tracks to provide a plurality of chassis seats along the width of the cargo hold for each set of parallel spaced tracks within each tier. Each chassis seat is equipped to hold a standardized cargo container.

In addition, each set of parallel spaced tracks has an empty space of one chassis seat width. With this arrangement, at least one chassis seat may be moved along the corresponding set of parallel spaced tracks so that a standardized cargo container may be stored at or retrieved from any chassis seat position within any tier of the cargo hold of the vessel.”

20 Claims, 5 Drawing Sheets

Fig. 4

Fig. 5

Finally, we can turn our attention to another of our US Patents, US Patent No. 10,435,129. That patent was issued to us on October 8, 2019, but has remained in a dormant state because it has had no lawful mandate to give it momentum. Until now. Here’s the introductory Abstract:

Abstract

“A watercraft comprising a compressed air propulsion system is shown and described. The watercraft includes at least one propeller operatively connected to an air motor. Storage tanks supply compressed air having a pressure of at least 2000 psi to a pressure regulator that reduces the pressure and supplies air to an air control valve. User controls adjust the air control valve to adiust the flow rate of air to the air motor which in turn adjusts the direction and/or speed of rotation of the propeller. An on-board air compressor energized by a plurality of lithium iron phosphate batteries provides air to the air storage tanks when the pressure falls below a specified value. In certain examples, the electric and air propulsion system is used to replace a fossil fuel engine in an existing watercraft and can remain at sea longer than the existing watercraft.”

24 Claims, 2 Drawing Sheets

This patent describes a revolutionary marine engine that uses no fossil fuels. No gas, no diesel, no bunker fuel, no hydrogen, nothing. An examination of our patent on the US Patent Office website, reveals the source of propulsion for these engines to be air.

Free air. But air in a highly compressed state. By making use of High Compressed Air and a system of rechargeable batteries, our fossil-free engines enable vessels, of any size, to operate for unlimited amounts of time and over unlimited distances. The patent explains exactly how all this is accomplished. Are we challenging the Laws of Thermodynamics? Perpetual ‘Motion? Entropy? Not at all. Most folks seem to have forgotten that the Laws of Perpetual Motion apply only to a “closed system.” As you will note in the Patent Declaration, however, our engines have unlimited access to a “fuel” far removed from any kind of an enclosure. And that “fuel” is free air. Cost-free air! The bottom line is, yes, we’re actually talking about “Perpetual Motion” but we’re not in conflict with the Laws of Thermodynamics. Our system is an “open” one, not a closed one.

These engines will eventually bring about significant changes in the world’s economy by influencing the movers and shakers within the world’s largest industry – the maritime industry. (In order to emphasize that point, we were advised by that Lloyds official that they [Lloyds] “at any given moment, were monitoring more than 83,000 seagoing vessels!”)

Commercial fishing vessels, ferries, Offshore Service Vessels (OSVs), Cruise Ships, Naval and Coast Guard vessels are just some of the other types that will make use of the cost-free operation of these pollution-free engines. Yes. Pollution will be a thing of the past. Think about what that will mean for humanity.

And some of us can still recall the hurried restoration of 108 shuttered U.S. shipyards and the hundreds of thousands of formerly-unemployed workers engaged in the emergency construction of more than 10,000 World War lI Naval vessels. Today we’re in the midst of still another crisis – widespread joblessness which can once again be resolved by shipbuilding programs. Yes. Joblessness will also be a thing of the past.
And think about what that will mean for humanity.

The following two drawings illustrate the differences between a standard container ship and a vessel with fossil fuel-free and battery ballasting systems. These drawings emphasize what we’ve pointed out above:

  1. Engine room space is reduced by more than 95%
  2. No fossil fuel or fuel tanks are utilized.
  3. Unlimited amounts of potable water are provided.
  4. Cargo capacity is increased.
  5. Electricity for all shipboard needs is provided.
  6. Instead of seawater, racked and movable batteries provide ballasting.

Drawing 1

Vesel with:
a.) Salt Water Ballast Tanks
b.) Retrofitted Desalination System

Vessel specs:
Length: 760′
Beam: 95′
40-footers: 1290
20-footers: 0
TOTAL TEUs: 2580

Drawing 2

Vesel with:
a.) Fossil fuel-free Engines
b.) Battery Ballasting System

Vessel specs:

Length:760′
Beam:95′
40-footers:1475
20-footers:351
TOTAL TEUs:3401
Contact us

Need More Information About Marine Pneumelectric Engines?